



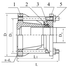
|
序號
|
名稱
|
數量
|
材料
|
|
1
|
本體
|
1
|
QT400-15、Q235A、
ZG230-450、1Cr13、20 |
|
2
|
壓蓋
|
1
|
QT400-15、Q235A、20
ZG230-450、1Cr13 |
|
3
|
密封圈
|
2
|
NBR、CR、FPM、NR
|
|
4
|
螺柱
|
n
|
Q235A、35、1Cr18Ni9Ti
|
|
5
|
螺母
|
n
|
Q235A、20、1Cr18Ni9Ti
|
主要尺寸連接尺寸
|
公稱 |
管子 |
長度 |
0.25Mpa |
法蘭連接尺寸 |
1.OMpa |
|||||||
|
L1 |
L |
D |
K |
n-do |
D |
K |
n-do |
D |
K |
n-do |
||
|
65 |
76 |
105 |
118 |
160 |
130 |
4-¢14 |
160 |
130 |
4-¢14 |
185 |
145 |
4-¢18 |
|
80 |
89 |
190 |
150 |
4-¢18 |
190 |
150 |
4-¢18 |
200 |
160 |
8-¢18 |
||
|
1OO |
108 |
123 |
210 |
170 |
210 |
170 |
220 |
180 |
||||
|
114 |
||||||||||||
|
125 |
133 |
240 |
200 |
8-¢18 |
240 |
200 |
8-¢18 |
250 |
21O |
|||
|
140 |
||||||||||||
|
150 |
159 |
265 |
225 |
265 |
225 |
285 |
240 |
8-¢23 |
||||
|
168 |
||||||||||||
|
200 |
219 |
320 |
280 |
320 |
280 |
340 |
295 |
|||||
|
250 |
273 |
130 |
375 |
335 |
12-¢23 |
375 |
335 |
12-618 |
395 |
350 |
12-¢23 |
|
|
300 |
325 |
130 |
160 |
440 |
395 |
12-¢18 |
440 |
395 |
12-¢22 |
445 |
400 |
|
|
350 |
355 |
490 |
445 |
490 |
445 |
505 |
460 |
16-¢22 |
||||
|
377 |
||||||||||||
|
400 |
406 |
540 |
495 |
16-¢23 |
540 |
495 |
16-¢22 |
565 |
515 |
16-¢27 |
||
|
426 |
||||||||||||
|
450 |
457 |
595 |
550 |
595 |
550 |
16-¢22 |
615 |
565 |
20-¢26 |
|||
|
480 |
||||||||||||
|
500 |
508 |
645 |
600 |
20-¢23 |
645 |
600 |
20-¢22 |
670 |
620 |
|||
|
530 |
||||||||||||
|
600 |
610 |
755 |
705 |
20-¢27 |
755 |
705 |
20-¢26 |
780 |
725 |
20-¢30 |
||
|
630 |
||||||||||||
|
700 |
720 |
860 |
810 |
24-¢27 |
860 |
810 |
24-¢26 |
895 |
840 |
24-¢30 |
||
|
800 |
820 |
220 |
255 |
975 |
920 |
24-¢30 |
975 |
920 |
24-¢30 |
1015 |
950 |
24-¢33 |
|
900 |
920 |
1075 |
1020 |
1075 |
1020 |
1115 |
1015 |
28-¢33 |
||||
|
1000 |
1020 |
1175 |
1120 |
28-¢30 |
1175 |
1120 |
28-¢30 |
1230 |
1160 |
28-¢36 |
||
|
1200 |
1220 |
1375 |
1320 |
32-¢30 |
1405 |
1340 |
32-¢33 |
1455 |
1380 |
32-¢39 |
||
|
1400 |
1420 |
270 |
1575 |
1520 |
36-¢30 |
1630 |
1560 |
36-¢36 |
1675 |
1590 |
36-¢42 |
|
|
1600 |
1620 |
1790 |
1730 |
40-¢30 |
1830 |
1760 |
40-¢36 |
1915 |
1820 |
40-¢48 |
||
|
1800 |
1820 |
1990 |
1930 |
44-¢30 |
2045 |
1970 |
44-¢40 |
2115 |
2020 |
44-¢48 |
||
|
2000 |
2020 |
2190 |
2130 |
48-¢30 |
2265 |
2180 |
48-¢42 |
2325 |
2230 |
48-¢48 |
||
|
2200 |
2220 |
275 |
2405 |
2340 |
52-¢33 |
2475 |
2390 |
52-¢42 |
2550 |
2440 |
52-¢56 |
|
|
2400 |
2420 |
2605 |
2540 |
56-¢33 |
2685 |
2600 |
56-¢42 |
2760 |
2650 |
56-¢56 |
||
|
2600 |
2620 |
240 |
300 |
2805 |
2740 |
60-¢33 |
2905 |
2810 |
60-¢48 |
2960 |
2850 |
60-¢56 |
|
2800 |
2820 |
3030 |
2960 |
64-¢36 |
3115 |
3020 |
64-¢48 |
3180 |
3070 |
64-¢56 |
||
|
3000 |
3020 |
3230 |
3160 |
68-¢36 |
3315 |
3220 |
68-¢48 |
3405 |
3290 |
68-¢60 |
||
|
3200 |
3220 |
3430 |
3360 |
72-¢36 |
3525 |
3430 |
72-¢48 |
- |
- |
- |
||
|
3400 |
3420 |
3630 |
3560 |
76-¢36 |
3735 |
3640 |
76-¢48 |
- |
- |
- |
||
|
3600 |
3620 |
3840 |
3770 |
80-¢36 |
3970 |
3860 |
80-¢56 |
- |
- |
- |
||
|
3800 |
3820 |
4045 |
3970 |
80-¢40 |
- |
- |
- |
- |
- |
- |
||
|
4000 |
4020 |
4245 |
4170 |
84-¢40 |
- |
- |
- |
- |
- |
- |
||
